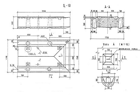
Ц-10

Чертеж изделия:
Характеристики изделия:
ПараметрЗначение
длина2530 мм
ширина1700 мм
высота580 мм
масса5200 кг
нормативный документСерия 3.503-23

Ц-10  Блоки цокольной части Серия 3.503-23.