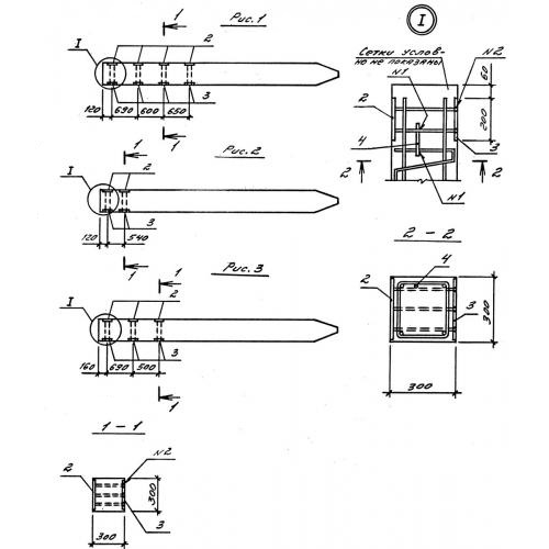
СН 9-30
Характеристики изделия:
| Параметр | Значение |
|---|---|
| длина | 9000 мм |
| ширина | 300 мм |
| высота | 300 мм |
| масса | 2050 кг |
| нормативный документ | Серия 3.016.1-9 |
Цена:
Рассчитать стоимостьСН 9-30 Сваи-колонны с напрягаемой арматурой Серия 3.016.1-9.
| Параметр | Значение |
|---|---|
| длина | 9000 мм |
| ширина | 300 мм |
| высота | 300 мм |
| масса | 2050 кг |
| нормативный документ | Серия 3.016.1-9 |
СН 9-30 Сваи-колонны с напрягаемой арматурой Серия 3.016.1-9.
