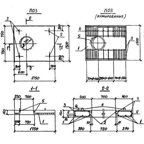
ПО 3 плиты каналов

Чертеж изделия:
Характеристики изделия:
ПараметрЗначение
длина1750 мм
ширина1500 мм
высота160 мм
масса900 кг
нормативный документСерия 3.006.1-2/87

ПО 3 Плиты перекрытия лотков Серия 3.006.1-2/87.