Лу 33/2 лотки угловые

Чертеж изделия:
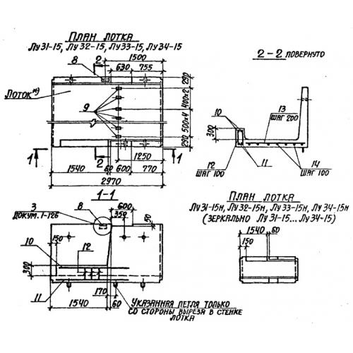
Характеристики изделия:
ПараметрЗначение
длина2970 мм
ширина3380 мм
высота1380 мм
масса6480 кг
нормативный документСерия 3.006.1-2/87

Лу 33/2  Лотки теплотрасс угловые Серия 3.006.1-2/87.