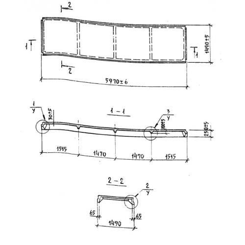
ПГ

Чертеж изделия:
Характеристики изделия:
ПараметрЗначение
длина5970  мм
ширина1490 мм
высота250 мм
вес900 кг
серия1.865.1-4/80

ПГ плиты ребристые без проема  по серии 1.865.1-4/80.