ПС 6.18.1

Чертеж изделия:
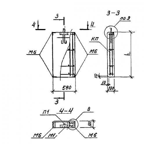
Характеристики изделия:
ПараметрЗначение
длина580 мм
ширина100 мм
высота1785 мм
вес250 кг
серия1.432.1-34.94

ПС 6.18.1 Панели стеновые по серии 1.432.1-34.94.