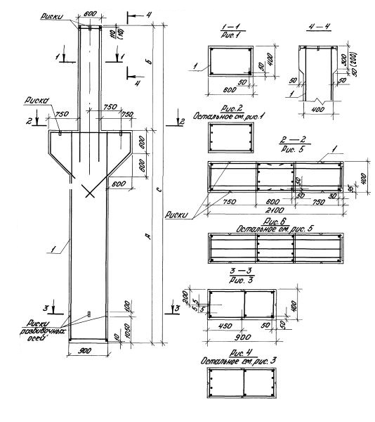
К 144

Чертеж изделия:
Характеристики изделия:
ПараметрЗначение
длина14900 мм
ширина400 мм
высота2100 мм
масса13500 кг
нормативный документСерия 1.424.1-5

К 144  Колонны средние Серия 1.424.1-5.