Л 15

Чертеж изделия:
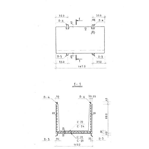
Характеристики изделия:
ПараметрЗначение
длина1470 мм
ширина1100 мм
высота880 мм
вес800 кг
серия1.219-2

Л 15 Лотки по серии 1.219-2.