ПК 51.15

Чертеж изделия:
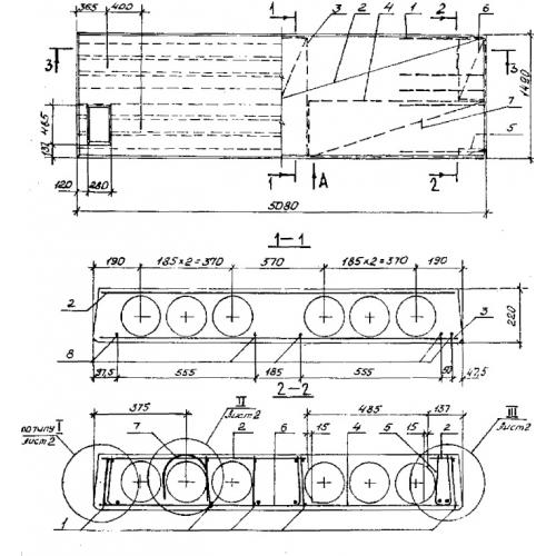
Характеристики изделия:
ПараметрЗначение
длина5080 мм
ширина1490 мм
высота220 мм
вес2585 кг
серия1.141.1-30

ПК 51.15 Плиты перекрытия с пустотами по серии 1.141.1-30.