В2 3-55.27.12-1

Чертеж изделия:
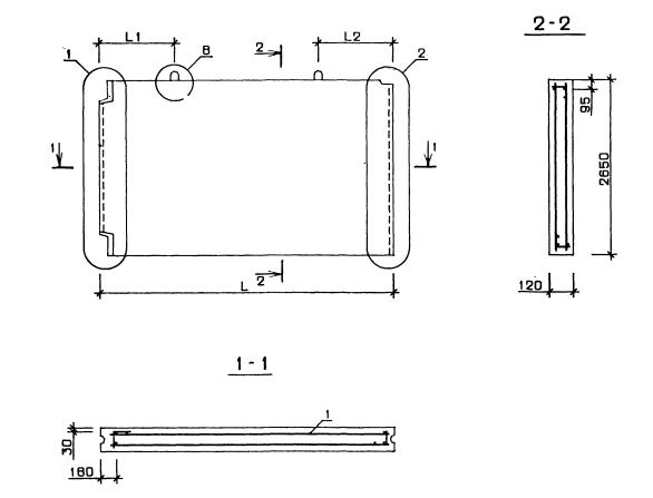
Характеристики изделия:
ПараметрЗначение
длина5530 мм
ширина120 мм
высота2650 мм
масса4350 кг
нормативный документСерия 1.131-2/82

Серия 1.131-2/82  Панели внутренних поперечных стен толщиной 120 и 160 мм.

В2 3-55.27.12-1  Внутренняя стеновая панель.