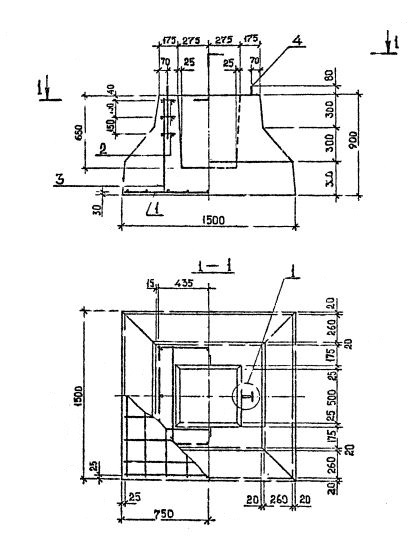
Ф 15.9

Чертеж изделия:
Характеристики изделия:
ПараметрЗначение
длина1500 мм
ширина1500 мм
высота900 мм
масса3000 кг
нормативный документСерия 1.020.1-2с/89

Ф 15.9  Фундаменты Серия 1.020.1-2с/89.