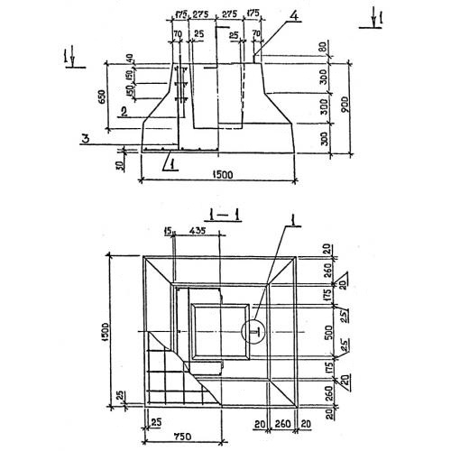
2Ф 15.9 фундаменты под колонну

Чертеж изделия:
Характеристики изделия:
ПараметрЗначение
длина1500 мм
ширина1500 мм
высота900 мм
масса3000 кг
нормативный документСерия 1.020-1/83

2Ф 15.9  Фундаменты цельные под колонны Серия 1.020-1/83.