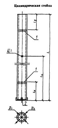
СЦ 20.3

Чертеж изделия:
Характеристики изделия:
ПараметрЗначение
длина20000 мм
ширина800 мм
высота800 мм
масса8536 кг
нормативный документГОСТ 22687.0-85

СЦ 20.3  Стойки цилиндрические ГОСТ 22687.0-85.